when an apparatus claim depends on functioning claim to describe the apparatus, what the device does and how it does it are highly relevant to understanding what the device is
| October 22, 2025
ROTHSCHILD CONNECTED DEVICES INNOVATIONS, LLC v. COCA-COLA COMPANY
Date of Decision: October 21, 2025
Before: Prost (author), Lourie, and Stoll
Summary:
The CAFC agreed with the decision of the district court and affirmed the summary judgement of noninfringement because by looking at the claim language and the specification, the claimed communication module must be configured to perform its steps in the order in which they are written, thereby allowing a narrow claim construction.
Details:
Rothschild Connected Devices Innovations, LLC (“Rothschild”) owns U.S. Patent No. 8,417,377 (“the ’377 patent) and sued Coca-Cola Co. (“Coca-Cola”) for infringing the ’377 patent in the U.S. District Court for the Northern District of Georgia, which granted summary judgement of noninfringement.
At issue is an independent claim 11, which reads as follows:
A beverage dispenser comprising:
at least one compartment containing an element of a beverage;
at least one valve coupling the at least one compartment to a dispensing section configured to dispense the beverage;
a mixing chamber for mixing the beverage;
a user interface module configured to receive an[] identity of a user and an identifier of the beverage;
a communication module configured to transmit the identity of the user and the identifier of the beverage to a server over a network, receive user generated beverage product preferences based on the identity of the user and the identifier of the beverage from the server and communicat[e] the user generated beverage product preferences to controller; and
the controller coupled to the communication module and configured to actuate the at least one valve to control an amount of the element to be dispensed and to actuate the mixing chamber based on the user gene[r]ated beverage product preferences.
At issue in this appeal is whether the claimed communication module must be configured to perform its steps in the order in which they are written:
(1) “transmit the identity of the user and the identifier of the beverage to a server over a network”;
(2) “receive user generated beverage product preferences based on the identity of the user and the identifier of the beverage from the server”; and
(3) “communicat[e] the user generated beverage product preferences to controller.”
The district court held that the communication module must be configured to perform these steps in that particular order.
The CAFC agreed with the decision of the district court and affirmed the summary judgement of noninfringement.
The CAFC applied a two-part test for determining if steps that do not otherwise recite an order “must nonetheless be performed in the order in which they are written.”
First, the CAFC look at the claim language to determine if, as a matter of logic or grammar, they must be performed in the order written.
Second, if not, the CAFC review the specification to determine whether it directly or implicitly requires such construction.
If not, the sequence in which such steps are written is not a requirement.
In this case, the CAFC held that as a matter of logic or grammar, the communication module must be configured to perform its steps in the order in which they are written – to a server and from the server.
In particular, the CAFC noted that the use of “based on” indicates that the first step precedes the second step.
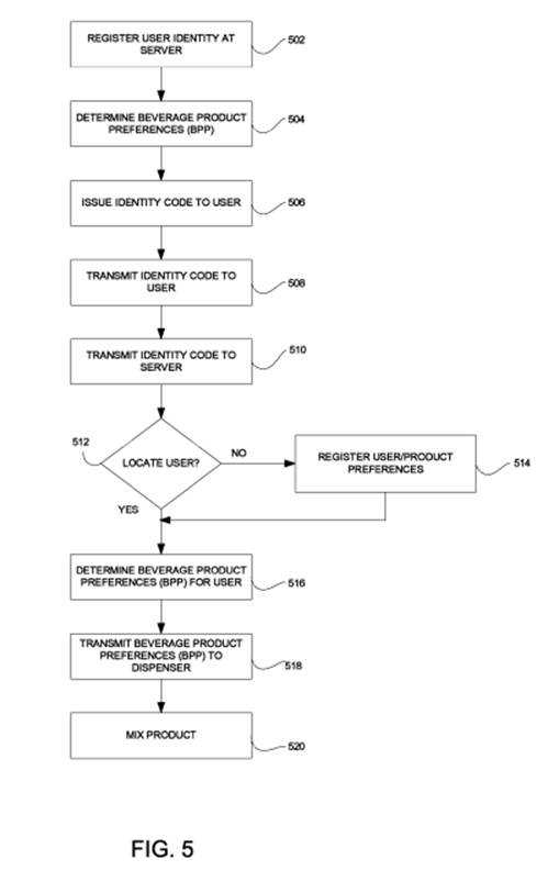
Furthermore, the CAFC noted that the specification clearly contains language and figures (the below Fig. 5) describing this order and does not contain any suggestion as to Rothschild’s contrary claim interpretation.

Rothschild argued that independent claim 11 is an apparatus claim, and therefore the claim does not require ordered steps (this apparatus claim covers what a device is, not what a device does).
The CAFC noted that while apparatus claims focus on the structure instead of the operation or use, when an apparatus claim depends on functioning claim to describe the apparatus, what the device does and how it does it are “highly relevant to understanding what the device is.”
Accordingly, the CAFC affirmed the summary judgement of noninfringement.
Takeaway:
- Functional claim language matters even for apparatus claims. When an apparatus claim depends on functioning claim to describe the apparatus, what the device does and how it does it are relevant to understanding what the device is.
- In order to obtain broad coverage of functional claim language, the specification should include several embodiments and figures describing broad functional coverage.


